3·15品质汽车投诉专题(一)——上汽通用五菱屡遭投诉
2023-03-07 lr 产品可靠性报告
被贴“低价”=“低质”标签 每年3·15既是消费者权益日更是企业的产品品质的检验日,在过去的一年里,企业在产品品质、服务质量和品牌形象是否用心经营,从一年的消费投诉情况就一目了然。 近日,在相关汽车投诉类网站发布的数据分析,2022年,MPV总投诉指数为1423.3,同比下跌41.65%。TOP10 榜单中,自主品牌占六成,合资品牌占四成。其中上汽通用五菱旗下宝骏730、五菱宏光、五菱凯捷三款车,投诉量占据榜单第一、第四、第八名,与往年投诉量对比,上汽通用五菱三款车都大幅度增长。上汽通用五菱在走亲民路线的同时,品质被质疑走了“低质”。
![]()
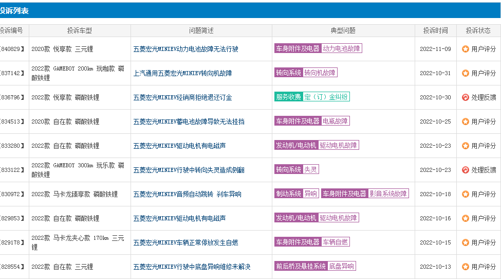
再来看看近年来上汽通用五菱旗下网红车型宏光MINIEV在汽车类的投诉情况,据统计,2020款宏光MINIEV质量问题投诉达126个、服务质量问题投诉达40个。2021款宏光MINIEV质量问题投诉达58个、服务质量问题投诉达27个.2022款宏光MINIEV质量问题投诉达50个、服务质量问题投诉达19个。其中质量问题主要是电动机、转向和制动系统、前后桥悬挂系统、车身电器元件等。在服务质量问题主要是消费欺骗、服务费用和承诺不兑现等。
![]() ![]() ![]()
消费者反映,当时在淮南大通购买五菱宏光电动车GB300公里顶配版,买了快一个月了,配置表上、销售都说的是可以0-100电量7.5-8.5小时充满电,实际上每次操作是,车子还剩25%的电,连续冲20个小时,才能充满,要记住充电量是25%-100%,该车主认为,其20小时只充了70%的电量,五菱电动车充电时长严重虚假宣传。
![]() ![]()
在去年得2月份,媒体报道了河北秦皇岛一起交通事故中,某牌小轿车与一辆五菱宏光MINIEV相撞,某牌车上人员有不同程度受伤,而五菱宏光MINIEV车上的母女经抢救无效死亡。虽然两辆事故车辆都有损坏,但是五菱宏光MINEV却更加惨烈。而当时的这辆五菱宏光MINIEV是一辆没有安全气囊的纯电小车,同时,全系没有ESP车身稳定系统,唯一的安全配置可能就是安全带了。
![]()
上汽通用五菱在门店营销中,也被消费者投诉存在欺骗行为,消费者在2022年12月10日去4S店看车,起初销售人员介绍车辆费用,计算落地价是41036元。本计划全款买车,但期间销售推销其现在可以无息12期贷款,并且贷款会赠送很多赠品,非常划算(期间销售并未告知有其他附加费用)。在销售人员引导下,支付了5000元订金。在12月11日在销售人员引导下又先后刷了9600元、436元、9.9元、2251.99元、1010元(转账至销售个人微信上),合计约18308元,贷款为25000元,合计为43308元。当时由于销售故意引导通过多次刷卡来迷惑消费者,我们也未仔细核实总费用。回家后,计算发现有2500元是贷款服务费,期间销售在介绍业务时并未告知有此收费,且4S店并未明确公示说明有该费用,销售故意通过赠品和无息贷款引导消费。
![]()
早期,上汽通用五菱旗下的宝骏730投诉也消费者吐槽,减震器异响、车身生锈等品质问题。消费者反馈,自家车为2016款 1.5L 手动 标准型,在车门边缘处、底盘处以及减震器支架等多个位置均存在生锈问题,不仅如此,车辆在低温怠速状态下减震器有明显异响。
![]()
在2019年就有相关媒体报道,昔日的宝骏730销量“神车”,因变速箱无故损坏、异响故障、车身生锈等质量问题被多次曝光。在2020年3·15央视晚会上宝骏560因变速箱多次维修仍无法解决等问题被点名。 五菱宏光MINIEV虽然前期被上汽通用五菱通过营销方式,让其成为网红车型,并且在销售数据达到很可观的数字,但是在消费者实际操作中,其产品品质和服务品质,让消费者大跌眼镜。试问下上汽通用五菱的高管和各大网红们,在生活中你们会去选择“低价”=“低质”的产品使用吗?
![]() ![]() ![]() ![]()
近年来,上汽通用五菱在营销层面做足文章,往往能让新车迅速一直在销量上保持增长,有业内人士认为,上汽通用五菱在价格上一直走“低价“路线,在同车型上与其他品牌对比,价格有很大优势。虽然出现了销量的收获,但是也因其质量问题,遭到消费者的吐槽。 根据2023年1月的汽车销售数据统计分析,五菱的销量并不乐观。官方数据显示,上汽通用五菱1月份销量为3万辆,同比暴跌72.74%,远远超过了同期上汽集团的整体销量47.75%降幅。官方数据,1月份五菱宏光MINI EV销量为6416辆,出现了连续4个月的同比下滑和3个月的环比下滑,与该车高光时刻的销量有着鲜明的对比。当产品最终落地被使用时,多完美的产品宣传终将被消费者考验,“低价”赢得暂时的销量领先,“低质”会将未来市场埋葬。国家推动汽车行业高质量发展战略,需要汽车企业严于律己以质取胜,用口碑换市场。作为上汽通用五菱来说,当看到2022年的投诉成绩单时,又作何感想。 针对2022年汽车行业整体情况,2023年品质汽车3·15线索征集通道开启,并将消费者反映的问题进行跟踪报道,共同推动汽车行业高质量发展。 (图片均来自网络) |
- 上一篇:中国车企应把握好先发优势
- 下一篇:补贴引争议 汽车降价潮中有多少“水分”












