扳倒井遭法院强制执行超5亿元,多家公司股权转让疑为躲债
2024-12-01 zwl 产品可靠性报告
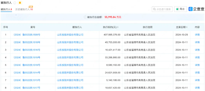
山东知名酒企山东扳倒井股份有限公司(下称“扳倒井股份”)债务危机终于浮出水面。 企查查信息显示,扳倒井股份持有的山东高青农村商业银行股份有限公司股权在11月20日遭到冻结,冻结权益数额为120.8007万元。 ![]() 值得注意的是,在此之前,扳倒井股份就已先后被中信银行淄博分行和交通银行淄博分行告上法庭,案由均是金融借款合同纠纷。而在更早的10月份,扳倒井股份更是接连八次成为被执行人,被执行总金额高达55,995.84 万元。 ![]() 上述法院公告也显示,除了扳倒井股份外,该公司的法定代表人赵纪文也一同成为被告。 接连被各大金融机构公开起诉追债也意味着扳倒井的债务问题公开浮出水面,扳倒井股份公司的流动性正面临困境。 不过,在此之前,扳倒井股份以及赵纪文其子赵泽函实际控制的国井控股集团的一系列股权变更就曾引发媒体关注。 企查查数据显示,9月6日,国井控股集团股权结构发生了重要变化,赵泽函、信春晖、张洪伟、郝景峰、张庆林、张峰国、白秀彬、孙艳波、张辉不再担任股东,这9个人持有的国井控股集团合计79.25%的股份被转让给了自然人王晨和王洋。
![]() 在这次股权转让之前,国井控股集团大股东是赵纪文之子赵泽函,持股51%,股权转让之后,这51%的股份拥有者变成了王晨,王洋则持股28.25%,而王洋也成为国井控股集团执行董事、法定代表人。 更早的2023年1月5日,扳倒井股份董事长赵纪文将其持有的58.3%的股份全部转让给了淄博慢城房地产开发有限公司。 工商登记资料显示,淄博慢城房地产注册成立于2022年6月20日,法定代表人为王增军,注册资本4200万元,该公司由淄博众志达管理服务有限公司全资持有。淄博众志达管理服务有限公司则注册成立于2023年2月24日,注册资本4200万元,法定代表人为陈洪海,陈洪海与赵军分别持股99.52338%和0.4762%。 不过,令外界感到蹊跷的是,虽然国井控股集团以及扳倒井股份的控股权已经易主他人,但是赵纪文却至今仍然以国井集团党委书记、董事长的身份出席活动并见诸媒体报道。 在9月12日举行的“2024山东国井集团开窖大典”活动当天,已在工商登记中卸任董事长的赵纪文仍以国井集团董事长的身份发表讲话,不再担任集团股东、董事的张辉、白秀彬、张锋国则分别以集团常务副总裁、副总裁、副总裁和总工程师的身份出席此次活动。而第一和第二大股东王晨、王洋却罕见地没有出现在活动报道中。 近日,在江苏举办的《2024第五届白酒黄淮核心产区高质量发展峰会》上,赵纪文仍然以中国酿酒大师、国井集团党委书记、董事长身份出席并作了《经略黄河,涵养国香》主题演讲。 ![]()
一身笔挺西装以及精心打理的发型也让赵纪文显得气定神闲,扳倒井股份的债务问题似乎并未对其有何影响。 不过,对于赵纪文一系列的股权转让行为,外界还曾一度传出赵纪文面临债务压力,所以紧急转让股权以确保部分资产不被波及,而接手方实则为赵纪文代持。 从赵纪文股权转让后的公开露面、现任股东的低调以及目前爆出的扳倒井股份的债务问题来看,上述猜测似乎不无道理。 “股权转让并不直接等同于恶意逃债,它是一种合法的商业交易方式,但在特定情况下可能被用作逃避债务的手段。”一位律师告诉记者,债务人可能通过以明显不合理的低价转让股权给关联方或第三方,从而转移资产、规避债务。 上述股权转让的价格是多少?并无公开披露,外界也无从得知,赵纪文上述一系列的操盘背后是否为了躲避债务?对于债权银行以及被拖欠了数千万乃至上亿欠款的金融机构来说,岂能善罢甘休? |



